


開關電源的啟動電路
啟動電路包括電容電路和與電容電路連接的調節器件。電容電路的電容值可調。調節器件用于在開關電源上電過程中按照設定時序調節電容電路的電容值以改變啟動電路的電容值。
主要的實施方式
啟動電路中調節器件在開關電源上電過程中調節電容電路的電容值,如此,避免了開關電源啟動時對MOS管等器件造成損壞,同時開關電源在啟動后能保持穩定的輸出。此外,還會講解一種開關電源。
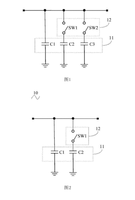
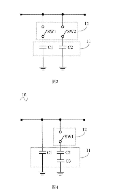
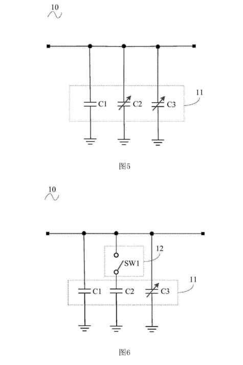
1.開關電源的啟動電路包括:電容電路,電容電路的電容值可調;和與電容電路連接的調節器件,調節器件用于在開關電源上電過程中按照設定時序調節電容電路的電容值以改變啟動電路的電容值。電容電路包括多個電容,多個電容并聯,調節器件包括開關器件,開關器件包括與多個電容連接的至少一個開關件,每個開關件與至少一個與電容串聯。調節器件用于調節可調電容的電容值。
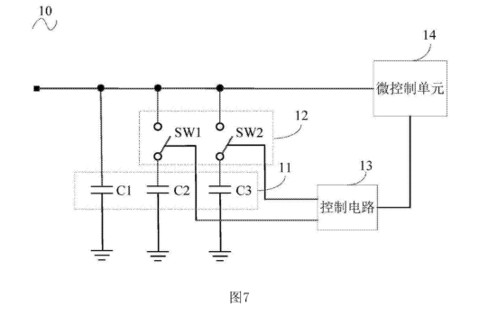
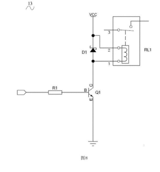
2.如以上的啟動電路,其特征在于,啟動電路包括與開關器件連接的控制電路和與控制電路連接的微控制單元,微控制單元連接電容電路并用于在開關電源上電過程中控制控制電路按照設定時序驅動開關件的通斷狀態調節電容電路的電容值。電路包括第一電阻、第三極管和第一二極管,第一三極管的基極連接第一電阻的一端,第一三極管的集電極連接第一二極管的正極和開關件,第--三極管的發射極接地,第一電阻的另一端連接微控制單元,第一二極管的負極連接預定供電電壓和開關件。
3.啟動電路的控制電路包括第一電阻、場效應管和第一二極管,場效應管的柵極連接第一電阻的一端,場效應管的漏極連接第一二極管的正極和開關件,場效應管的源極接地,第--電阻的另一端連接微控制單元,第一二極管的負極連接預定供電電壓和開關件。開關件包括繼電器或NMOS管。啟動電路包括與開關器件連接的延時電路用于在開關電源上電過程中按照設定時序驅動所開關件的通斷狀態調節電容電路的電容值。
4.開關電源包括交流電源、整流模塊、儲能器件、變壓器、整流電路、濾波電路、直流輸出端、開關MOS管、電源管理模塊和反饋電路,交流電源、整流模塊、儲能器件、變壓器、整流電路、濾波電路和直流輸出端依次連接,反饋電路連接濾波電路和電源管理模塊,開關MOS管連接變壓器和電源管理模塊,濾波電路包括啟動電路。
開關電源的啟動電路和開關電源背景技術.
在相關技術中,為了保持開關電源的輸出穩定,開關電源的輸出端常常連接了較大的電容。例如,在音頻電路中,為了追求卓越的音質,開關電源中常常接入較大的電容。然而,電容變大會造成開關電源啟動時對MOS管的沖擊過大,導致MOS管的損壞。
本發明實施方式的開關電源的啟動電路,包括:
電容電路,電容電路的電容值可調;和與電容電路連接的調節器件,調節器件用于在開關電源上電過程中按照設定時序調節電容電路的電容值以改變啟動電路的電容值。如此,避免了開關電源啟動時對MOS管等器件造成損壞,同時開關電源在啟動后能保持穩定的輸出。
主要元件及符號說明:
啟動電路10、電容電路11、調節器件12、控制電路13、微控制單元14、第一延時電路152、第二延時電路154、交流電源20、整流模塊30、儲能器件40、變壓器50、整流電路60、濾波





上一篇:幾種開關電源的電路原理圖
下一篇:機芯開關電源的電路解析


